作为我国历史最为悠久的植物学综合研究机构,在90多年的发展历程中,植物所形成了鲜明的学科特色和优势领域,从不同生命层次研究植物学领域的重大基础理论和关键技术问题,产出了一批重要的学术和研发成果。其中,植物所作为第一完成单位,“中国高等植物图鉴和中国高等植物科属检索表”(1987年)、“中国蕨类植物科属的系统排列和历史来源”(1993年)和“《中国植物志》的编研”(2009年)3项成果先后荣获国家自然科学奖一...
国内首个生物学期刊集群平台,通过将期刊与专业数据库相结合,形成物种、术语等知识库,满足读者多领域多层次的需求,从而在实现知识服务的同时,提升期刊传播力与影响力。
Journal of Integrative Plant Biology是在国际上具有重要影响的综合性植物学期刊,面向全球,主要发表整合植物生物学领域具有创新性的研究论文、综述、突破性报道、新资源、新技术和...
Journal of Systematics and Evolution 是以描述、理解、研究和保护生物多样性为服务目标的系统、进化和保护生物学等领域的国际期刊,主要发表植物、动物和微生物学科系统发育与进化生...
国内植物生态学领域最早被SCI收录、发文量最高、影响力最大的英文国际期刊之一,以发表有新观点的代表国际生态学及相关交叉学科最新研究进展的原创性研究论文为主,同时包括综述、观点...
我国唯一专门报道生物多样性研究成果的学术期刊。主要发表有创新性的原创性研究论文和数据,重要类群/地区的生物编目,具引领作用的保护实践,有新观点的综述、论坛、履约进展等。
中文核心期刊,月刊。入选中国科技期刊卓越行动计划,被CSTPCD、CSCD、Scopus、BP、CA等数据库收录。刊登以植物与环境关系为内核的高水平创新性原始研究论文、综述、数据论文等。
综合性中文学术期刊, 内容涵盖植物科学各领域,及时、准确地反映我国植物科学领域最新研究成果和系统评述国际植物科学最新进展, 全文免费下载。
《生命世界》是中国科技核心期刊(科普类)。期刊聚焦生命科学,主要面向成人读者,突出科技前沿,以通俗易懂的语言,图文并茂的形式,普及生命科学知识,报道生命科学领域动态,展示...
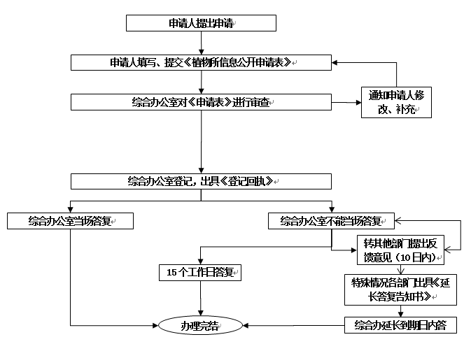
植物研究所依申请公开信息工作流程图
发布时间:2015-11-10 | 【 大 中 小 】
发布时间:2015-11-10 | 【 大 中 小 】 | 【打印】 【关闭】
附件下载: